BMW E30 Logo

Автор Тема: Температура двигателя  (Прочитано 6368 раз)

0 Пользователей и 1 Гость просматривают эту тему.

semen23
  • Гость
« Ответ #25 : 24 Сентября 2009, 11:27:15 »
если в системе воздушная пробка, то когда стоишь в пробке с печки идет холодній воздух. Если стоишь и валит гарячий воздух-ПРОБКИ НЕТ. Если поменял термостат и греется знач неправильной стороной поставил. ОЖ ганяет по малому кругу, если не грееться по большому. у меня было на другой машине, где стоял електрический вентилятор. Грелся потому что какой то даун до меня перепутал провода и вентилятор крутился в другую сторону.
пробки выганяються двумя способами
1. ставишь машину мордай кверху и газуешь попрет воздух с водой
2. шланжик который идет к печке снимаешь. льешь в радитор воду и сначала течет маленький ручеек, а потом уже нормально течет когда воздух выходит
(2 способ не пробовал. 1 помогает 100%)
« Последнее редактирование: 24 Сентября 2009, 11:31:17 от semen23
»
  • Оценка за сообщение
  • Счистить ржавчину0
  • Пильнуть ведро0

Рекомендуем почитать по теме Температура двигателя

e30 325
  • Гость
« Ответ #26 : 24 Сентября 2009, 22:38:14 »
а нащод муфти шото подскажыте? как заклинить?
  • Оценка за сообщение
  • Счистить ржавчину0
  • Пильнуть ведро0
  • Бывалый
  • *
  • Сообщений: 574
  • Репутация +22/-18
  • Пол: Мужской
  • Локация: СПб, Пушкин
  • Возраст:39
« Ответ #27 : 24 Сентября 2009, 23:24:14 »
И у меня стрелка прыгает! Датчик температуры новый. Знаю, где искать - в приборах аккумы поменять нужно, старые совсем.
Not race. Only pleasure.
  • Оценка за сообщение
  • Счистить ржавчину0
  • Пильнуть ведро0
  • Бывалый
  • *
  • Сообщений: 683
  • Репутация +28/-4
  • Пол: Мужской
  • Локация: г. Королев
  • Возраст:38
« Ответ #28 : 25 Сентября 2009, 09:50:16 »
У меня тоже дикий перегрев. Был поменян радиатор, т.к старый был в хлам. Поменял термостат. Проблема осталась...... перегрев. Я уже распотрашил старый термостат, вытащил все внутренности, чтоб крутило все время по большому, и все равно перегрев......  Теперь думаю поменять помпу.
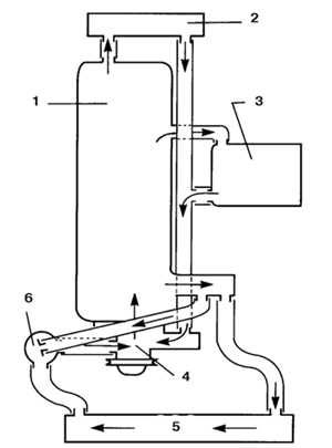
Кстати, сейчас посмотрел на рисунок системы охлаждения, и понял что у меня жидкость течет совсем не так как на рисунке

Если она у меня и течет, то  в обратную сторону......
318i coupe.1983 (М10В18 Я5.1) --> в разработке 335 М30 : /go.php?l=aHR0cDovL3d3dy5lMzBjbHViLnJ1L2ZvcnVtL2luZGV4LnBocC90b3BpYyw2MTIwMC4wLmh0bWw=
г. Королёв М.О
  • Оценка за сообщение
  • Счистить ржавчину0
  • Пильнуть ведро0
  • Зверский Е30 Тюннер
  • *****
  • Сообщений: 7167
  • Репутация +156/-31
  • Пол: Мужской
  • Локация: Харьков
  • Возраст:50
« Ответ #29 : 25 Сентября 2009, 10:51:46 »
это как так?
  • 316i/88,m40b16->m10b18->m10b18->m40b16, 316/86, m10b18->m42b18
O чём ни спроси - все обычно советуют сменить операционку, потом железо, потом страну пребывания, ориентацию, всё, что угодно... вместо того, чтобы подсказать нужную настройку в софтине.
  • Оценка за сообщение
  • Счистить ржавчину0
  • Пильнуть ведро0
  • Бывалый
  • *
  • Сообщений: 683
  • Репутация +28/-4
  • Пол: Мужской
  • Локация: г. Королев
  • Возраст:38
« Ответ #30 : 25 Сентября 2009, 11:29:10 »
это как так?
А вот хз=)))) Я когда тестировал термостат, когда нижний клапан открывался,вначале нижний патрубок становился горячим, затем радиатор нагревался снизу вверх.

Вот такие вот пироги....
318i coupe.1983 (М10В18 Я5.1) --> в разработке 335 М30 : /go.php?l=aHR0cDovL3d3dy5lMzBjbHViLnJ1L2ZvcnVtL2luZGV4LnBocC90b3BpYyw2MTIwMC4wLmh0bWw=
г. Королёв М.О
  • Оценка за сообщение
  • Счистить ржавчину0
  • Пильнуть ведро0
  • Зверский Е30 Тюннер
  • *****
  • Сообщений: 7167
  • Репутация +156/-31
  • Пол: Мужской
  • Локация: Харьков
  • Возраст:50
« Ответ #31 : 25 Сентября 2009, 11:46:03 »
возможно пробка в верхнем патрубке...
  • 316i/88,m40b16->m10b18->m10b18->m40b16, 316/86, m10b18->m42b18
O чём ни спроси - все обычно советуют сменить операционку, потом железо, потом страну пребывания, ориентацию, всё, что угодно... вместо того, чтобы подсказать нужную настройку в софтине.
  • Оценка за сообщение
  • Счистить ржавчину0
  • Пильнуть ведро0
  • Бывалый
  • *
  • Сообщений: 683
  • Репутация +28/-4
  • Пол: Мужской
  • Локация: г. Королев
  • Возраст:38
« Ответ #32 : 25 Сентября 2009, 13:11:54 »
Не, пробки точно нет. Это 100%
318i coupe.1983 (М10В18 Я5.1) --> в разработке 335 М30 : /go.php?l=aHR0cDovL3d3dy5lMzBjbHViLnJ1L2ZvcnVtL2luZGV4LnBocC90b3BpYyw2MTIwMC4wLmh0bWw=
г. Королёв М.О
  • Оценка за сообщение
  • Счистить ржавчину0
  • Пильнуть ведро0
  • Зверский Е30 Тюннер
  • *****
  • Сообщений: 7167
  • Репутация +156/-31
  • Пол: Мужской
  • Локация: Харьков
  • Возраст:50
« Ответ #33 : 25 Сентября 2009, 13:25:12 »
любопытно
радиато забит?
  • 316i/88,m40b16->m10b18->m10b18->m40b16, 316/86, m10b18->m42b18
O чём ни спроси - все обычно советуют сменить операционку, потом железо, потом страну пребывания, ориентацию, всё, что угодно... вместо того, чтобы подсказать нужную настройку в софтине.
  • Оценка за сообщение
  • Счистить ржавчину0
  • Пильнуть ведро0
  • Бывалый
  • *
  • Сообщений: 683
  • Репутация +28/-4
  • Пол: Мужской
  • Локация: г. Королев
  • Возраст:38
« Ответ #34 : 25 Сентября 2009, 15:07:30 »
Радиатор новый, не забит
318i coupe.1983 (М10В18 Я5.1) --> в разработке 335 М30 : /go.php?l=aHR0cDovL3d3dy5lMzBjbHViLnJ1L2ZvcnVtL2luZGV4LnBocC90b3BpYyw2MTIwMC4wLmh0bWw=
г. Королёв М.О
  • Оценка за сообщение
  • Счистить ржавчину0
  • Пильнуть ведро0
 

закрыть

Начни общаться с фанатами BMW E30 прямо сейчас!

Войти Новичкам